每人每月收费不超1500元!禅城拟再添5所四星级普惠性幼儿园
日前,2020年禅城区普惠性幼儿园星级分类拟定结果进行公示。根据公示,禅城区拟再添5所四星级普惠幼儿园。
拟评定为五星的5所四星级普惠性幼儿园为禅城区惠怡幼儿园、禅城区蓓阳幼儿园、禅城区诚信幼儿园、禅城区文华怡景丽苑幼儿园、禅城区绿景苑幼儿园。此外,禅城区望江幼儿园、禅城区金色里程幼儿园等5所幼儿园拟评定为三星级。
普惠性幼儿园星级分类综合指标由幼儿园等级、幼儿园属性和幼儿园保教质量三个指标构成,分为:四星级普惠性幼儿园、三星级普惠性幼儿园、二星级普惠性幼儿园和一星级普惠性幼儿园;根据星级分类标准及收费限定标准认定普惠性幼儿园星级,不能同时满足两个条件的普惠性幼儿园,暂定为未评星级。
根据《佛山市星级普惠性幼儿园认定、扶持和管理办法》,星级普惠性幼儿园实行分类限价管理,公办幼儿园按照星级类别由价格主管部门实行政府定价,集体办幼儿园参照执行。普惠性民办幼儿园最高收费标准限定为:四星级普惠性幼儿园每人每月不超过1500元; 三星级普惠性幼儿园每人每月不超过1300元;二星级普惠性幼儿园每人每月不超过1150元;一星级普惠性幼儿园每人每月不超过950元;未评级的普惠性幼儿园每人每月不超过1500元。
佛山物流业发展再迎重大机遇风口!昨日,2020年佛山市供应链物流协会第一届第四次会员大会暨佛山市跨境供应链合作平台启动仪式举行,会议复盘了2020年佛山物流业发展情况,并展望2021年发展前景。
“2020年新冠肺炎疫情突如其来,佛山物流人为保障国计民生做出了巨大贡献。”市商务局电子商务科科长何满初介绍,今年1月1日至今,市商务局落实了995万元资金扶持佛山物流企业发展。在疫情下,佛山市供应链物流协会也积极推动会员企业复工复产,该协会秘书长朱德志表示,协会配合主管单位宣贯各类政策,开展了百企千人联动互访活动,并积极向主管单位反馈行业现状。
“依托强大的产业基础,企业在佛山做物流有着非常大的优势。”佛山市供应链物流协会会长段玉说,佛山物流企业要把握好这个区位优势,不断增强核心竞争力,为制造业提供更优质服务。在走访企业的过程中,朱德志了解到,不少佛山跨境物流业务都被广深的物流企业承包了,佛山物流企业也要争取分享这块大蛋糕。今年11月15日,区域全面经济伙伴关系协定(RCEP) 正式签署,佛山物流企业未来发展跨境物流大有可为。
为帮助佛山物流企业抢抓RCEP签署的巨大风口,佛山市供应链物流协会积极推 动建立跨境供应链合作平台,为企业提供一个互联互助、抱团打市场的大平台。
@各位车主,
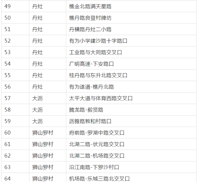
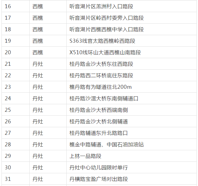
南海这些地方增设一批交通“电子警察”,
主要针对闯红灯、违停、
驾驶时通电话、未系安全带等不安全行为,
各位司机朋友请勿任性了!
该批新增的电子监控设备
将于2020年12月20日开始
对交通违法行为进行执法取证。
马路如虎口!
记住这些典型不安全行为
千万别做↓↓
典型交通违法行为1:闯红灯
根据相关法律法规,驾驶机动车违反道路交通信号灯通行的记6分,罚款200元。
典型交通违法行为2:违停
一旦车辆违停,你或将面对以下三种后果:
1.机动车违反禁止停车线标志、禁止长时停车标志或禁止停车线指示的,罚款200元。
2.机动车违反规定停放、临时停车,妨碍其它车辆、行人通行的,罚款200元。
3.机动车违反规定停放、临时停车且驾驶人不在现场或驾驶人虽在现场拒绝立即驶离,妨碍其它车辆、行人通行的,拖移机动车。
典型交通违法行为3:逆行
根据相关法律法规,机动车逆向行驶的记3分,罚款200元。
典型交通违法行为4:通电话
驾驶机动车时拨打、接听手持电话,将面临记2分;处警告或者20元以上200元以下罚款。
请广大车主和驾驶员
自觉遵守交通法规,
养成良好的文明交通出行习惯,
共同营造安全、和谐、畅通的
道路交通环境。
微信
新浪微博
QQ空间
QQ好友
豆瓣
Facebook
Twitter
